Tận dụng Sức mạnh của Xử lý Ngôn ngữ Tự nhiên (NLP) để Tối ưu Hóa Quản lý Rủi ro trong Ngành Tài chính - Ngân hàng
Quản lý rủi ro một cách hiệu quả rất quan trọng để đảm bảo sự ổn định và thành công. Để đạt được cột mốc quan trọng đó, chúng ta cần xem xét nhiều yếu tố. Một trong những công nghệ mang tính biến đổi nhất thúc đẩy quản lý rủi ro phát triển là Xử lý ngôn ngữ tự nhiên (NLP) và Ứng dụng sáng tạo. Bài viết này khám phá tác động đáng kể của NLP và các mô hình tổng quát trong các quy trình quản lý rủi ro, từ phân tích cảm xúc đến phát hiện gian lận, tạo báo cáo tự động,…
1. 👀 NLP là gì?
NLP là một nhánh của trí tuệ nhân tạo (AI) tập trung vào sự tương tác giữa máy tính và ngôn ngữ của con người. Nó cho phép máy móc hiểu, diễn giải và tạo ra ngôn ngữ của con người, khiến nó trở thành một công cụ mạnh mẽ để xử lý lượng lớn dữ liệu văn bản.

Hiểu ngôn ngữ tự nhiên so với thế hệ
2.💡 Tầm quan trọng của NLP trong Quản lý Rủi ro
Trong quản lý rủi ro, việc tiếp cận thông tin liên quan là rất quan trọng. NLP cho phép các tổ chức tài chính phân tích dữ liệu phi cấu trúc, chẳng hạn như các bài báo, phương tiện truyền thông xã hội và phản hồi của khách hàng, để rút ra các insight có giá trị.
Đến năm 2025, gần 30% ứng dụng Xử lý ngôn ngữ tự nhiên sẽ được thực hiện trong Ngân hàng, Dịch vụ tài chính và Bảo hiểm. Ngân hàng luôn là động lực thúc đẩy ứng dụng AI, cụ thể hơn là NLP cho tài chính, trong tự động hóa dữ liệu.

Thị phần theo ngành dọc - Nguồn : johnsnowlabs
NLP trong Tài chính (ngành BFSI) đã được sử dụng cho:
- Ứng dụng cho vay, tín dụng tự động
- Tự động tính toán phí
- Giới thiệu khách hàng
- Quản lý rủi ro
- Quản lý tài sản, ESG
- Sự tuân thủ
Mọi người có thể nghĩ rằng NLP sẽ bị giới hạn ở một số công dụng nhất định. Điều này là hoàn toàn sai! Công dụng của NLP sẽ cách mạng hóa tất cả các lĩnh vực rủi ro ngân hàng/phi ngân hàng; nó sẽ cho phép những người dùng không chuyên về kỹ thuật đi sâu vào cấp độ phân tích cao hơn trên nhiều khía cạnh rủi ro.

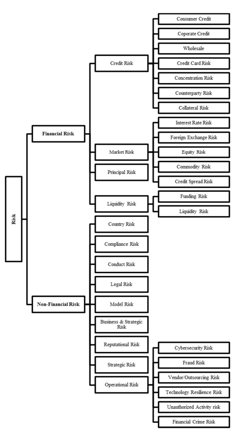
Phòng Rủi ro của các tổ chức tài chính
Ứng dụng rủi ro NLP trong các tổ chức Tài chính Ngân hàng
Có thể nói rằng việc sử dụng NLP & AI vào Ứng dụng Rủi ro trong các Tổ chức Tài chính và Ngân hàng sẽ được triển khai trong từng phần Rủi ro. Giám đốc rủi ro có quyền truy cập vào hiểu biết và thông tin về rủi ro có tính hữu ích hơn, ví dụ như phân tích sự cố tập trung vào việc tìm hiểu điều gì đã xảy ra và tại sao.
Giờ đây, họ đang ngày càng trang bị các công cụ cho phép phân tích trước, tạo điều kiện thuận lợi cho việc dự đoán các sự cố rủi ro tiềm ẩn. Khai thác dữ liệu, lập mô hình kịch bản và dự báo là các tính năng tích hợp của hầu hết các giải pháp quản lý rủi ro.
3.😁 Phân tích cảm xúc phản hồi của khách hàng

Phân tích cảm xúc cho phản hồi của khách hàng
Phản hồi của khách hàng đóng một vai trò quan trọng trong việc định hình các sản phẩm và dịch vụ tài chính. Phân tích cảm xúc do NLP cung cấp giúp các tổ chức hiểu được nhận thức và mức độ hài lòng của khách hàng. Cảm xúc tích cực có thể làm nổi bật những dự án kinh doanh thành công, trong khi cảm xúc tiêu cực có thể chỉ ra những vấn đề tiềm ẩn cần được quan tâm ngay lập tức.
🦹🏻♂️ Phát hiện và ngăn chặn gian lận

Gian lận là mối lo ngại thường xuyên trong ngành tài chính. Các thuật toán NLP có thể xem xét kỹ lưỡng lượng lớn dữ liệu giao dịch và xác định các mẫu hoặc điểm bất thường đáng ngờ cho thấy các hoạt động gian lận. Việc sử dụng NLP để phân tích Big Data được phân loại để Phát hiện gian lận đã có sẵn và nhiều công ty đang cung cấp các sản phẩm như vậy để sử dụng nhằm chống lại rủi ro gian lận. Khả năng này cho phép các ngân hàng phản ứng kịp thời và ngăn ngừa tổn thất tài chính.
Những khả năng như vậy xoay quanh:
Một là khai thác văn bản NLP
Việc sử dụng NLP trong Phân tích gian lận để khai thác văn bản bị đánh giá thấp. NLP có thể gán nhãn tập dữ liệu sự thật cơ bản, văn bản khác nhau và sử dụng các phần nhúng theo ngữ cảnh.
Hai là từ điển Gian lận
Tìm ra các mối liên kết không phải là một vấn đề dễ dàng đối với bất kỳ nhà phân tích nào. nhưng bằng cách ứng dụng NLP trong Phân tích gian lận cho Từ điển gian lận, nó sẽ giúp tất cả các nhà phân tích gian lận đưa ra quyết định dựa trên dữ liệu hiện tại mà họ có. Nó cũng sẽ giúp họ phát hiện các mẫu số, tên địa lý, thời gian và các mối liên kết thông thường.
Ba là phân tích gian lận
Việc xây dựng KRI (Key Result Indicators) để phân tích gian lận được thực hiện trên cơ sở nỗ lực tốt nhất. Những điều như vậy thay đổi tùy theo từng tổ chức và không có cuốn sách rõ ràng nào để đạt được. Sử dụng NLP trong Phân tích gian lận sẽ giúp các Giám đốc và người quản lý thiết lập điểm xác suất, số liệu mức độ rủi ro và chỉ báo mối đe dọa (KRI).
Bốn là sự đánh giá
Cuối cùng nhưng không kém phần quan trọng, NLP trong Fraud Analytics chắc chắn sẽ giúp người dùng xây dựng phân tích điểm AUC và giảm tỷ lệ dương tính giả cũng như xây dựng cơ sở dựa trên quy tắc.
4.💻 Mạng sáng tạo đối nghịch (GAN)
Mạng sáng tạo đối nghịch (GAN) là một loại mô hình tổng quát được sử dụng để tạo dữ liệu tổng hợp. Trong tài chính, GAN có thể tạo ra dữ liệu tài chính thực tế, chẳng hạn như xu hướng thị trường chứng khoán, có thể hỗ trợ các nhà phân tích rủi ro trong việc kiểm tra sức chịu đựng và lập kế hoạch kịch bản.
🚫 Các trường hợp sử dụng trong quản lý rủi ro
GAN có thể mô phỏng kết quả thị trường tiềm năng và đánh giá tác động của các yếu tố rủi ro khác nhau. Các tổ chức tài chính có thể sử dụng khả năng này để đưa ra các chiến lược quản lý rủi ro hiệu quả và đánh giá hiệu quả của chúng trong các tình huống mô phỏng.
5.👨🏻⚖️ Nâng cao khả năng ra quyết định
Những Insight thu được từ phân tích NLP và các mô hình tổng quát trao quyền cho các nhà quản lý rủi ro đưa ra quyết định dựa trên dữ liệu. Điều này dẫn đến việc đánh giá rủi ro chính xác hơn và thực hành quản lý rủi ro chủ động hơn.
☺️ Cải thiện trải nghiệm của khách hàng
Bằng cách hiểu được cảm xúc của khách hàng thông qua NLP, các tổ chức tài chính có thể điều chỉnh sản phẩm và dịch vụ của họ để đáp ứng mong đợi của khách hàng, dẫn đến trải nghiệm tổng thể của khách hàng được nâng cao.
🔍 Đánh giá rủi ro theo thời gian thực
NLP cho phép phân tích thời gian thực và gần thời gian thực về xu hướng thị trường và các rủi ro mới nổi. Được kết hợp với các ứng dụng tổng hợp, các tổ chức có thể phản ứng kịp thời với các điều kiện thị trường năng động và các mối đe dọa tiềm ẩn.
6.🔐 Những lo ngại về quyền riêng tư và bảo mật dữ liệu
Sử dụng NLP để phân tích dữ liệu phi cấu trúc làm tăng mối lo ngại về quyền riêng tư và bảo mật dữ liệu. Các tổ chức phải thực hiện các biện pháp bảo vệ dữ liệu mạnh mẽ để bảo vệ thông tin nhạy cảm.
🎯 Đảm bảo độ bền và độ chính xác
NLP và các mô hình tổng quát phụ thuộc rất nhiều vào chất lượng và số lượng dữ liệu. Đảm bảo tính chính xác và mạnh mẽ của các mô hình này là điều cần thiết để tránh đưa ra các quyết định quan trọng dựa trên thông tin sai sót.
7.📃 Tính công bằng và sai lệch trong thuật toán
Các thuật toán NLP có thể vô tình duy trì những thành kiến có trong dữ liệu đào tạo. Các tổ chức phải tích cực giải quyết và khắc phục những thành kiến để đảm bảo đối xử công bằng với tất cả khách hàng và các bên liên quan.
Khi công nghệ ngày càng phát triển, việc sử dụng Xử lý ngôn ngữ tự nhiên (NLP) và Ứng dụng sáng tạo trong quản lý rủi ro cho các tổ chức tài chính ngân hàng ngày càng trở nên cần thiết. Khả năng trích xuất những thông tin có giá trị từ lượng lớn dữ liệu văn bản và tạo ra thông tin phù hợp theo ngữ cảnh giúp các nhà quản lý rủi ro đưa ra quyết định sáng suốt và chủ động. Việc áp dụng các công nghệ không chỉ nâng cao quy trình đánh giá rủi ro mà còn thúc đẩy hiệu quả và khả năng phục hồi chung của ngành tài chính.
Tham khảo: The FinDate Like
Tổng hợp bởi nhóm tác giả DTSVN - Giải pháp chuyển đổi số ngành Tài chính - Ngân hàng.
-------
DTSVN là Công ty Chuyển đổi số tiên phong cung cấp giải pháp số hóa mới nhất dành riêng cho các doanh nghiệp trong ngành Tài chính - Ngân hàng tại Việt Nam; giúp Ngân hàng, tổ chức tài chính nhanh chóng hoàn thiện hệ thống công nghệ phục vụ Chuyển đổi số.
Liên hệ ngay để được tư vấn và trải nghiệm giải pháp tại đây